ШПУ-20-Б УХЛ1
ШПУ-20-Б УХЛ1
Арт.: 
Линейный штыревой полимерный изолятор ШПУ
Характеристики
 / шт
Экономия 0%
Укажите количество
+
Сумма:
Узнать о поступлении
Запрос коммерческого предложения
Для получения коммерческого предложения, уточнения сроков изготовления и условий поставки вы можете направить запрос специалистам АО «АИЗ»
Наши преимущества
Проектируем и производим продукцию по тех. заданию клиента
Выполняем заказы в сжатые сроки при согласованных условиях
Фиксируем цены и обеспечиваем приоритетное выполнение заказов
Работаем с отсрочкой оплаты на договорных условиях
Технические характеристики
Номининальное напряжение, кВ
20
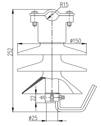
Строительная высота H, мм
252
Диаметр штыря траверсы/ диаметр отверстия трубы, D
24/25
Испытательное напряжение полного грозового импульса, не менее, кВ
125
Пробивное напряжение в изоляционной среде, кВ
150
Подробное описание

Изоляторы ШПУ монтируются на те же штыри, на которых ранее устанавливались фарфоровые изоляторы, без применения колпачков или пакли на сурике. При строительстве новых линий рекомендуется использовать опорные линейные изоляторы типа «ОЛК».

Основной особенностью кремнийорганических изоляторов являются высокая надёжность и долговечность, подтверждённые опытом эксплуатации. Кроме того, изоляторы отличаются низкой массой, ударопрочностью, вибростойкостью, трекингостойкостью, высокой грязестойкостью, устойчивостью к актам вандализма, дугостойкостью и стойкостью к солнечному излучению.

Высокая гидрофобность ребристой оболочки из силиконовой композиции обеспечивает превосходные характеристики работы в условиях загрязнения и увлажнения. Штыревые изоляторы из кремнийорганического композита в России выпускаются единственным предприятием — АО «АИЗ» (г. Лыткарино, Московская область). Уменьшенный вес по сравнению с фарфоровыми и стеклянными аналогами позволяет существенно снизить транспортные расходы. При транспортировке полностью исключён бой изоляторов. Малый вес и удобная упаковка позволяют перемещать изделия вручную на месте монтажа без применения техники.

Изоляционное тело изготавливается из кремнийорганических резин компаний Dow Corning, Wacker, General Electric с гарантированным сроком эксплуатации не менее 30 лет на открытом воздухе в условиях сильных загрязнений. Изоляторы подходят для эксплуатации в условиях Крайнего Севера, поскольку отсутствует необходимость применения полиэтиленового колпачка, который становится хрупким и разрушается при низких температурах. Возможность применения в труднодоступных районах (болота, тайга, горная местность) делает изоляторы востребованными в нефтяной и газовой промышленности, где предъявляются повышенные требования к качеству оборудования. Использование данных изоляторов позволяет в несколько раз снизить затраты на обслуживание, плановые осмотры и контроль. Благодаря модифицированному оголовку с прижимной планкой при монтаже не требуется традиционная вязка проводов.

Упругие свойства конструкции и отсутствие хрупких элементов позволяют транспортировать изделия без повреждений. Применение изоляторов ШПУ снижает риск вандализма. Даже после серии выстрелов дробью изолятор сохраняет работоспособность, поскольку основная изоляционная часть защищена металлическим колпачком. При этом отсутствует выраженный визуальный эффект повреждения.

Изоляторы обладают повышенной сейсмостойкостью. Оконцеватели защищены от коррозии цинковым покрытием, нанесённым термодиффузионным методом на глубину до 120 мкм. Данный способ обеспечивает защиту в 3 раза выше по сравнению с гальваническим цинкованием и в 1,5 раза выше по сравнению с горячим цинкованием методом окунания.


Примечание
Информация на сайте носит исключительно информационно-рекламный характер и не является публичной офертой.

О нашем заводе
АО «АИЗ» — российский завод-производитель высоковольтных полимерных изоляторов и линейной арматуры с 1999 года. Предприятие располагает собственным конструкторским бюро и полным циклом разработки и производства продукции для объектов электросетевого комплекса.

В числе постоянных заказчиков предприятия топливно-энергетического комплекса, проектные и научные организации, поставщики оборудования, в том числе филиалы ОАО «ФСК ЕЭС», ООО «НПЦ «Энерком-Сервис», ОАО «Кузбассэнерго», ОАО «ТГК-5», ОАО «ТГК13», ЗАО «ЗЭТО», ЗАО ГК «Электрощит-Самара», ООО «Волгоградсетьстрой», ОАО «МРСК Севера-Заnада»,
ОАО «ОГК-2», ЗАО «ЧЭМЗ» и многие другие.
Консультация инженера AO "АИЗ"
Задайте вопрос

Инженеры АО «АИЗ» помогут подобрать изоляторы и комплектующие под конкретные условия эксплуатации и требования проекта.
Проконсультируем по замене изделий, подбору аналогов, нагрузкам, климатическому исполнению и нормативным требованиям.

Консультация проводится на основании технического задания или параметров объекта и не обязывает к заказу
Позвоните нам!
Личный кабинет
Вам будет доступна история заказов, управление рассылками, свои цены и скидки для постоянных клиентов и прочее.
Ваш логин
Ваш пароль
МО, Лыткарино, ул. Парковая 1
По любым вопросам
Московская область, Лыткарино, ул. Парковая 1
Посмотреть на карте